2025-11-05
Различия — гидромуфты типа T, TV и TVV в промышленном применении
ДЛЯ НЕМЕДЛЕННОГО ПУБЛИКАЦИИ
В области промышленной передачи энергии технология гидромуфт продолжает играть важнейшую роль в повышении эксплуатационной эффективности и защиты оборудования. Эволюция от стандартного типа T к усовершенствованным гидродинамическим муфтам типа TV и TVV представляет собой значительный технологический прогресс в системах передачи крутящего момента и защиты двигателей. В этом комплексном анализе рассматриваются отличительные характеристики, эксплуатационные преимущества и оптимальные сценарии применения каждого варианта гидромуфты.
Техническое развитие и структурные инновации
Развитие технологии гидродинамических муфт шло по четкому пути инноваций, и каждое поколение решало конкретные промышленные задачи посредством конструктивных усовершенствований:
Гидромуфта типа T: основа ограничения крутящего момента

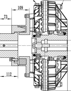
Как стандартная гидромуфта ограниченного скольжения, муфта типа T представляет собой фундаментальную конструкцию в технологии гидродинамических муфт. Базовая конфигурация имеет одну рабочую камеру без дополнительных вспомогательных отсеков, обеспечивая необходимые функции передачи крутящего момента и защиты двигателя.
Основные конструктивные характеристики:
– Конструкция с одной рабочей камерой
– Работа с фиксированным объёмом жидкости
– Отсутствие интеграции вспомогательной камеры
– Простая механическая конструкция
Основные преимущества:
– Упрощённая защита двигателя: Обеспечивает плавный пуск двигателя благодаря холостому ходу
– Базовая защита от перегрузки: Автоматическое отключение при заклинивании оборудования или при чрезмерной нагрузке
– Экономичность: Снижение первоначальных инвестиций и требований к техническому обслуживанию
– Надежная работа: Подтвержденная эксплуатационная надежность в стандартных условиях применения
Промышленное применение:
Эта гидродинамическая муфта превосходно подходит для оборудования с фиксированной скоростью, требующего фундаментальной защиты, особенно в конвейерных системах, базовом оборудовании для обработки материалов и стандартных промышленных приводах, где регулирование скорости не требуется.
Гидромуфта типа TV: улучшенные характеристики благодаря вспомогательной камере

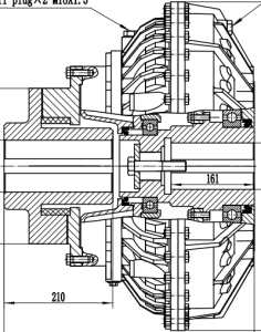
Гидромуфта типа TV отличается значительным улучшением конструкции благодаря наличию задней вспомогательной камеры. Это конструктивное усовершенствование обеспечивает более точное управление крутящим моментом и улучшенные пусковые характеристики, что представляет собой значительный шаг вперед в технологии гидродинамических муфт.
Усовершенствованные конструктивные особенности:
– Основная рабочая камера, совмещенная с задней вспомогательной камерой
– Возможность динамического обмена жидкостью
– Улучшенный механизм регулирования крутящего момента
– Улучшенное терморегулирование
Эксплуатационные преимущества:
– Превосходное управление запуском: Обеспечивает постепенное увеличение крутящего момента во время ускорения
– Улучшенное распределение нагрузки: Эффективно управляет пиковыми требованиями к крутящему моменту
– Увеличенный срок службы оборудования: Снижает механическую нагрузку на соединенные компоненты
– Адаптивные характеристики: Адаптируется к изменяющимся условиям эксплуатации
Область применения:
Данная конфигурация гидродинамической муфты особенно ценна в приложениях, требующих контролируемого ускорения, включая дробильные системы, мощные конвейеры и оборудование с высокими инерционными нагрузками.
Гидромуфта типа TVV: Оптимизированные характеристики благодаря увеличенной вспомогательной камере

Гидромуфта типа TVV представляет собой вершину традиционной конструкции гидродинамической муфты, отличаясь увеличенной задней вспомогательной камерой, которая обеспечивает превосходное управление крутящим моментом и эксплуатационный контроль. Эта усовершенствованная конфигурация гидромуфты подходит для самых требовательных промышленных применений.
Премиальные конструктивные особенности:
– Удлинённая конструкция задней вспомогательной камеры
– Оптимизированный путь циркуляции жидкости
– Улучшенный отвод тепла
– Высокоточная гидродинамика
Преимущества в производительности:
– Исключительное управление крутящим моментом: Обеспечивает точное управление крутящим моментом во всём рабочем диапазоне
– Оптимальные тепловые характеристики: Поддерживает стабильные рабочие температуры при высоких нагрузках
– Максимальная защита: Обеспечивает комплексную защиту системы от перегрузок
– Энергоэффективность: Минимизирует потери мощности во время работы
Области применения:
Эта премиальная гидродинамическая муфта предназначена для критически важных применений в горнодобывающей промышленности, на тяжёлом перерабатывающем оборудовании и в дорогостоящем оборудовании, где максимальная защита и производительность являются важнейшими требованиями.
Сравнительный технический анализ
Характеристики запуска:
– Гидромуфта типа T: Базовые пусковые характеристики с ограничением основного крутящего момента
– Гидродинамическая муфта типа TV: Улучшенное управление запуском благодаря функции вспомогательной камеры
– Гидромуфта типа TVV: Оптимизированные пусковые характеристики благодаря преимуществам расширенной камеры
Возможность управления крутящим моментом:
– Гидродинамическая муфта типа T: Стандартное ограничение крутящего момента, подходящее для основных применений
– Гидромуфта типа TV: Улучшенное управление крутящим моментом для умеренных нагрузок
Условия эксплуатации
– Гидродинамическая муфта типа TVV: Превосходное управление крутящим моментом для критически важных применений
Применимость:
– Гидромуфта типа T: Стандартные промышленные применения с постоянными эксплуатационными требованиями
– Гидродинамическая муфта типа TV: Условия переменной нагрузки, требующие повышенной защиты
– Гидромуфта типа TVV: Высокотребовательные применения с критически важными эксплуатационными требованиями
Руководства по внедрению в отрасли
Выбор подходящей гидромуфты требует тщательного учета эксплуатационных требований и ожидаемых характеристик. Гидродинамическая муфта типа T эффективно работает в стандартных условиях, в то время как гидромуфта типа TV подходит для более сложных условий эксплуатации. Гидродинамическая муфта типа TVV обеспечивает бескомпромиссную производительность в самых сложных условиях, где максимальная защита оборудования имеет первостепенное значение.
Тенденции развития
Развитие технологии гидромуфт продолжает быть направлено на повышение эффективности и более интеллектуальное управление эксплуатацией. Хотя фундаментальные принципы работы гидродинамических муфт остаются неизменными, постоянное совершенствование конструкции камеры и гидродинамики обещает дальнейшее повышение производительности и надежности.
О компании Fluid Coupling Technologies:
Гидродинамические муфты являются важнейшими компонентами современных промышленных систем передачи энергии, обеспечивая критически важную защиту и повышение производительности благодаря принципам гидродинамической муфты. Переход от конфигураций типа T к конфигурациям типа TV и TVV демонстрирует непрерывные инновации в этой важнейшей области промышленных технологий.